○彦根市消防吏員服制規則
| (昭和43年3月6日規則第5号) |
|
(趣旨)
第1条 この規則は、消防組織法(昭和22年法律第226号)第16条第2項の規定に基づき彦根市消防吏員の服制を定めるものとする。
(服制)
第2条 消防吏員の服制は、別表のとおりとする。
[別表]
2 前項の規定にかかわらず、消防長は、災害現場その他勤務の性質により必要とする特殊な服制を定めることができる。
(委任)
第3条 この規則の施行に関し必要な事項は、消防長が定める。
付 則
この規則は、公布の日から施行する。
付 則(昭和44年1月13日規則第3号)
|
|
この規則は、昭和44年1月1日から施行する。
付 則(昭和53年3月1日規則第3号)
|
|
この規則は、昭和53年3月1日から施行する。
付 則(昭和61年10月20日規則第27号)
|
|
この規則は、昭和61年11月1日から施行する。
付 則(平成4年10月1日規則第32号)
|
|
この規則は、平成4年10月1日から施行する。
付 則(平成10年9月1日規則第42号)
|
|
この規則は、公布の日から施行する。
付 則(平成11年6月18日規則第39号)
|
|
この規則は、平成11年10月1日から施行する。
付 則(平成14年4月1日規則第36号)
|
|
1 この規則は、公布の日から施行する。
2 この規則の施行の際、現に改正前の彦根市消防吏員服制規則で定められてる服制については、この規則による改正後の彦根市消防吏員服制規則の規定にかかわらず、当分の間、従前の例による。
付 則(平成15年5月23日規則第33号)
|
|
1 この規則は、平成15年6月1日から施行する。
2 この規則の施行の際、現に改正前の彦根市消防吏員服制規則で定められてる服制については、この規則による改正後の彦根市消防吏員服制規則の規定にかかわらず、当分の間、従前の例による。
付 則(平成15年7月28日規則第46号)
|
|
1 この規則は、公布の日から施行する。
2 この規則の施行の際、現に改正前の彦根市消防吏員服制規則で定められてる服制については、この規則による改正後の彦根市消防吏員服制規則の規定にかかわらず、当分の間、従前の例による。
付 則(平成16年9月27日規則第44号)
|
|
1 この規則は、公布の日から施行する。
2 この規則の施行の際、現に改正前の彦根市消防吏員服制規則で定められてる服制については、この規則による改正後の彦根市消防吏員服制規則の規定にかかわらず、当分の間、なお従前の例による。
付 則(平成18年9月7日規則第51号)
|
|
この規則は、公布の日から施行する。
付 則(平成19年3月30日規則第44号)
|
|
1 この規則は、平成19年4月1日から施行する。
2 この規則の施行の際、現に改正前の彦根市消防吏員服制規則で定められている服制については、この規則による改正後の彦根市消防吏員服制規則の規定にかかわらず、当分の間、従前の例による。
付 則(平成18年12月11日規則第67号)
|
|
この規則は、平成19年4月1日から施行する。
付 則(平成20年3月11日規則第11号)
|
|
この規則は、平成20年3月11日から施行する。
付 則(平成21年11月20日規則第44号)
|
|
1 この規則は、公布の日から施行する。
2 この規則の施行の際、現に改正前の彦根市消防吏員服制規則で定められている服制については、この規則による改正後の彦根市消防吏員服制規則の規定にかかわらず、当分の間、従前の例による。
付 則(平成30年4月1日規則第23号)
|
|
この規則は、公布の日から施行する。
付 則(令和2年9月1日規則第56号)
|
|
1 この規則は、公布の日から施行する。
2 この規則の施行の際、現に改正前の彦根市消防吏員服制規則で定められている服制については、この規則による改正後の彦根市消防吏員服制規則の規定にかかわらず、当分の間、従前の例による。
付 則(令和3年4月1日規則第38号)
|
|
1 この規則は、令和3年4月1日から施行する。
2 この規則の施行の際改正前の彦根市消防吏員服制規則に規定する雨衣を使用しているときは、この規則による改正後の彦根市消防吏員服制規則のレインウエアの規定にかかわらず、当分の間、使用することができる。
付 則(令和6年4月1日規則第29号)
|
|
1 この規則は、令和6年4月1日から施行する。
2 この規則の施行の際、改正前の彦根市消防吏員服制規則に規定する救急服を使用しているときは、この規則による改正後の彦根市消防吏員服制規則の救急服の規定にかかわらず、当分の間、使用することができる。
附 則(令和7年9月12日規則第57号)
|
|
1 この規則は、令和7年10月1日から施行する。
2 この規則の施行の際、改正前の彦根市消防吏員服制規則に規定する防寒衣を使用しているときは、この規則による改正後の彦根市消防吏員服制規則の防寒衣の規定にかかわらず、当分の間、使用することができる。
別表(第2条関係)
| 冬帽 | 色 | 濃紺 | |||
| 製式 | 男性 | 円形とし、前ひさしおよびあごひもは、黒色とする。
あごひもの両端は帽の両側において金色金属製消防章各1個でとめる。
形状は、図のとおりとする。
|
|||
| 女性 | 円形つば型とし、帽のまわりに濃紺またはその類似色のリボンを巻くものとする。
形状は、図のとおりとする。
|
||||
| き章 | 銀色金属製消防章をモール製金色桜で抱擁する。
台地は濃紺とする。
形状および寸法は、図のとおりとする。
|
||||
| 周章 | 男性については、帽の腰のまわりには、黒色のななこ織を巻き、消防司令以上の場合には、じゃ腹組金線およびじゃ腹組黒色線を、消防司令補の場合には、じゃ腹組黒色線を巻くものとする。
形状および寸法は、図のとおりする。
|
||||
| 夏帽 | 色 | 紺 | |||
| 製式 | 男性 | 円形とし、前ひさしおよびあごひもは、紺またはその類似色とする。
あごひもの両端は、帽の両側において金色金属製消防章各1個でとめる。
天井の両側にはと目をつけ、通風口とする。
腰は、藤づるあみとし、すべり革には、所要の通風口をつける。
天井の内側には、汚損よけをつける。
形状は、冬帽と同様とする。
|
|||
| 女性 | 冬帽と同様とする。 | ||||
| き章 | 冬帽と同様とする。
ただし、台地は紺とする。
|
||||
| 周章 | 男性については、帽のまわりに、紺またはその類似色のななこ織を巻くものとする。 | ||||
| 防火帽 | 保安帽 | 色または地質 | 銀色のガラス繊維を基材としたポリエステル樹脂による強化プラスティック製の材質とする。 | ||
| 製式 | かぶと型とし、前後部にひさしをつける。内部は、頭部の振動を防ぐ装置をつけ、あごひもは合成繊維とし、顔面保護板(シールド)はポリカーボネート製の上下スライド構造とする。帽体両側面に「彦根消防」と黒で表示する。
形状は、図のとおりとする。
|
||||
| き章 | スコッチシール式消防章とする。
形状および寸法は、図のとおりとする。
|
||||
| 周章 | 帽の腰まわりに、1条ないし3条の赤の反射線をつける。
寸法は、図のとおりとする。
|
||||
| しころ | 色または地質 | 紺色のISO11613に適合し、かつ財団法人日本防炎協会による防炎製品として認定されたものとする。 | |||
| 製式 | ドットボタンにより保安帽に取り付け、前面は、両眼で視認できる部分を除き閉じることができるものとする。
形状は、図のとおりとする。
|
||||
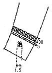
| 所属章 | しころ中央部に、所属別ワッペン(黒字の所属章)を取り付ける。
形状および寸法は、図のとおりとする。
|
||||
| 夏服 | 上衣 | 色 | 淡青 | ||
| 製式 | 前面 | 男性 | シャツカラーの半袖とする。
淡青またはその類似色のボタンを一行に付ける。
形状は、図のとおりとする。
|
||
| 女性 | 打合せを右上前とするほかは、男性と同様とする。 | ||||
| 肩章 | 外側の端を肩の縫目に縫い込み、えり側を淡青またはその類似色のボタン1個でとめる。 | ||||
| 下衣 | 色 | 夏帽と同様とする。 | |||
| 製式 | 冬服下衣と同様とする。 | ||||
| 活動服 | 上衣 | 色 | 紺色とし、襟、肩および背面上部(図中網掛け部分)にオレンジ色を配する。 | ||
| 製式 | 長袖とし、背中上部にHIKONE SHIGAと表示する。左胸ポケット上部に彦根市消防本部と表示する。
通気性、難燃性、強度、帯電・静電気防止性、立体性およびストレッチ性に配慮する。
形状は、図のとおりとする。
|
||||
| ズボン | 色 | 紺色とする。 | |||
| ズボン | 裾タブ付きの長ズボンとする。
通気性、難燃性、強度、帯電・静電気防止性、立体性およびストレッチ性に配慮する。
形状は、図のとおりとする。
|
||||
| 冬服 | 上衣 | 色 | 冬帽と同様とする。 | ||
| 製式 | 前面 | 男性 | 折りえり
胸部は二重とし、消防章をつけた金色金属製ボタンを二行につける。
形状は、図のとおりとする。
|
||
| 女性 | 打合わせを右上前とするほかは、男性と同様とする。 | ||||
| 階級章 | 黒の台地とし、上下両縁に金色ししゅう状を施し、中央に平織金線および銀色消防章をつける。
階級章は、右胸部につける。ただし、消防長の職にある者は、これをつけないことができる。
形状および寸法は、図のとおりとする。
|
||||
| 消防長章 | 銀色の台地とし、金色線三条および黒色線二条を配し、中央に、いぶし銀色の桜葉および銀みがきの桜花で囲んだはめ込みの金色消防章を配する。
消防長章は、階級章の上部につける。
形状および寸法は、図のとおりとする。
|
||||
| 袖章 | 黒色しま織線一条に消防司令補以上は蛇腹組金線一条を消防士長は蛇腹組銀線一条を表半面にまとい、その下部に消防司令以上の場合には、金色金属製消防章を付ける。
形状および寸法は、図のとおりとする。
|
||||
| えり章 | 左えりに、市を表徴するバッチ1個をつける。
形状および寸法は、図のとおりとする。
|
||||
| 下衣 | 色 | 上衣と同様とする。 | |||
| 製式 | 男性 | 長ズボンとする。
形状は、図のとおりとする。
|
|||
| 女性 | 長ズボン、スカートとする。
形状は、図のとおりとする。
|
||||
| 活動帽 | 色 | 青色とする。 | |||
| 製式 | 帽子の後部は、容易にサイズを変更できる機能を有する。
ひさし上面には、デザインししゅうを施す。
形状は、図のとおりとする。
|
||||
| き章等 | 前章は、消防章を含むデザインししゅうとする。 | ||||
| 防火衣 | 色または地質 | 上衣は、外衣・中衣で構成し、外衣は防火帽しころと同様とする。中衣は、透湿防水層・遮熱層兼裏地で構成されたものとする。 | |||
| 製式 | 外衣 | 表および裏に共布を用いた一枚襟、普通袖式とする。
上前はファスナーおよびマジックテープ止めとする。胸、背、袖口に黄色とシルバーの反射布を縫い付ける。ポケットは左右の腰部および胸部に各1個をつけ、雨蓋をつける。背面上部に「彦根消防 SHIGA」および背面下部に「HIKONE」の文字で表示する。
形状は、図のとおりとする。
|
|||
| 中衣 | 外衣にファスナーで取り付け、両脇に保冷剤収納用ポケットを縫い付ける。
|
||||
| ズボン | 雨蓋つきポケットを左右に取り付け、締め付けベルトとサスペンダーにより肩から支持するものとする。両裾に黄色とシルバーの反射布を縫い付ける。
形状は、図のとおりとする。
|
||||
| 防火衣長靴 | 色または地質 | 黒の天然ゴム製とする。 | |||
| 製式 | 底部は踏抜き防止ステンレス板入りの長靴とする。
形状は、図のとおりとする。
|
||||
| 安全帯 | 色または地質 | 紺色のナイロン原糸を使用する。 | |||
| 製式 | 胴ベルト、バックルおよびD環で、構成する。
形状は、図のとおりとする。
|
||||
| 救助服 | 上衣 | 色または地質 | オレンジ色とし、難燃性、立体性およびストレッチ性に配慮する。 | ||
| 製式 | 襟先ジップアップ(前ファスナー式)の長袖とし、立体性およびストレッチ性に配慮する。
背面上部にHIKONE SHIGAと表示する。
左胸ポケット上部に彦根市消防本部と表示する。
形状は、図のとおりとする。
|
||||
| 肩マーク | 左肩部に肩マークをつける。
形状および寸法は、図のとおりとする。
|
||||
| ズボン | 色または地質 | オレンジ色とし、難燃性、立体性およびストレッチ性に配慮する。 | |||
| 製式 | 長ズボンとし、両もも側方にポケットを付ける。
形状は、図のとおりとする。
|
||||
| バンド | 色または地質 | ズボンと同等色とする。 | |||
| 製式 | 2本ピンバックル式とする。 | ||||
| 救急服 | 上衣 | 色または地質 | 灰色とし、アラミド繊維含有の難燃トロピカルとする。
襟トリミング部、肩および背面上部に紺色を配する。
|
||
| 製式 | 襟先ジップアップ(前ファスナー式)の長袖とし、立体性に配慮する。
襟トリミング入りとし、両胸に各1個のポケットを付ける。
背面上部にHIKONE SHIGAと表示する。
左胸ポケット上部に彦根市消防本部と表示する。
形状は、図のとおりとする。
|
||||
| 肩章 | 外側の端を肩の縫目に縫い込み、肩章先は、灰色のボタン1個で留める。 | ||||
| ズボン | 色または地質 | 灰色とし、アラミド繊維含有の難燃トロピカルとする。 | |||
| 製式 | 裾タブ付きの長ズボンとし、立体性に配慮する。
両ももおよび左右後方に各1個のポケットを付ける。
形状は図のとおりとし、図中二重斜線の部分は当て地とする。
|
||||
| ヘルメット | 色または地質 | 白の強化合成樹脂または堅ろうな材質とする。 | |||
| 製式 | 円形とし、内部に頭部の震動を防ぐ装置をつける。
あごひもは、合成繊維とする。
形状は、図のとおりとする。
|
||||
| き章 | 保安帽と同様とする。 | ||||
| 周章 | 保安帽と同様とする。 | ||||
| 安全靴 | 黒色革製で、足首上部まで編上げとする。 | ||||
| 防寒衣 | 色または地質 | 紺の防水性を有する織物とする。 | |||
| 製式 | 背中部上部に頭巾を付け、えり部は地質と同色の織物とする。
背面上部にHIKONE SHIGAと表示する。
胸部は一重とし、ファスナーおよびドットボタン止めとする。
形状は、図のとおりとする。
|
||||
| レインウエア | 色または地質 | 上衣は黄色および黒色に近い灰色、下衣は黒色に近い灰色とし、ナイロン(撥水加工)とする。 | |||
| 製式 | 立ち襟(フード収納型)付きで、背面上部にHIKONE SHIGAと表示する。
形状は、図のとおりとする。
|
||||
| ワイシャツ | 白 | ||||
| ネクタイ | 紺色とする。 | ||||
| 手袋 | 白 | ||||
| バンド | 前金具の中央には消防章をつける。
活動服、救助服および救急服のベルトは、2本ピン式のバックル付作業用ベルトとする。
|
||||
| 皮手袋 | 革製とする。 | ||||
| 靴 | 色 | 短靴 | 黒 | ||
| ゴム半長靴 | 黒 | ||||
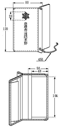
| 消防手帳 | 表紙は、黒色の革製またはこれに類似するものとする。
中央上部に消防章を、その下に消防本部名をそれぞれ金色で表示し、背部に鉛筆さしを設けその下端に長さ45センチメートルの黒色ひもをつけ、表紙内側には名刺入れをつける。用紙は、恒久用紙と記載用紙とに分け、いずれも差し換え式とし、その枚数は、恒久用紙10枚、記載用紙80枚とする。
形状および寸法は、図のとおりとする。
|
||||
備考
1 冬帽もしくは冬服または夏帽もしくは夏服についてその一部にオレンジ色を配し、または冬服もしくは夏服と併せて用いるエンブレム、ネクタイ等についてオレンジ色を基調としたものとすること等により、冬服、夏服等の一部にオレンジ色を配するものとする。
2 夏服のえりについては、開きん(小開き式)をもって、シャツカラーに代えることができる。
3 活動服、救助服および救急服については、ファスナーをもって、ボタンに代えることができる。
4 防寒衣については、ブルゾンをもって、これに代えることができる。
5 消防手帳については、消防章、消防本部および図消防手帳の部中恒用紙に表示された事項を表示したカードをもって、これに代えることができる。
6 形状に関する図で示しているポケット、ボタンの数および位置については、図と異なるものとすることができる。
| 冬帽 | ||||
| 女性 | 男性 | 図 数字は寸法を示し、単位はミリメートルとする。 | ||
![]() | ![]() |
|||
| 消防章 | き章 | あごひも留め消防章 | ||
![]() | ![]() | ![]() |
||
| 周章 | ||||
| 防火帽 | ||
| 立面 | ||
![]() | ||
| き章 | ||
![]() |
||
| しころ | ||
| 保安帽につける階級周章 |
| 夏服 | ||||
| 後面 | 前面 | |||
![]() | ![]() | |||
| 活動服 | ||||
| 後面 | 前面 | |||
![]() | ![]() | |||
| ズボン | ||||
![]() | ||||
| 冬服 | ||||
| 後面 | 前面 | ボタン | ||
![]() | ![]() | ![]() |
||
| スカート | ズボン | |||
![]() | ![]() | |||
| えり章 | ||||
![]() |
||||
| 消防長章 | ||||
![]() |
||||
| 上衣袖章 | ||||
| 消防司令 | 消防司令長 | 消防監 | ||
![]() | ![]() | ![]() | ||
![]() | ![]() | ![]() | ||
| 消防副士長
消防士
| 消防士長 | 消防司令補 | ||
![]() | ![]() | ![]() | ||
| 階級章 | ||
| 消防監 |
|
|
| 消防士長 | 消防司令長 | |
![]() | ![]() |
|
| 消防副士長 | 消防司令 | |
![]() | ![]() |
|
| 消防士 | 消防司令補 | |
![]() | ![]() |
|
| 活動帽 | |||
![]() |
|||
| 防火衣 | |||
| 上衣前面 | 上衣後面 | ||
![]() | ![]() | ||
| ズボン前面 | ズボン後面 | ||
![]() | ![]() | ||
| 防火衣長靴 | 安全帯 | ||
![]() | |||
| 救助服 | |||
| 前面 | 後面 | ||
![]() | ![]() | ||
| ズボン | |||
![]() | |||
| 救急服 | ||
| 前面 | 後面 | ズボン |
![]() | ![]() | ![]() |
| バンド | ||
![]() |
||
| 防寒衣 | エンブレム | |
| 前面 | 背面 | |
![]() | ![]() | |
![]() | ![]() | ![]() |
| 肩マーク | ||
![]() |
||
| レインウエア | ||
| 前面(フードあり) | 背面 | ズボン |
![]() | ![]() | ![]() |
| ヘルメット | ||
| 裏面 | 正面 | 側面 |
![]() | ![]() | ![]() |
| 消防手帳 | |
| 恒久用紙 | 表紙 |
![]() | ![]() |
| しころ所属章 |
| 本部 |
![]() |
| 本署 |
![]() |
| 南分署 |
![]() |
| 北分署 |
![]() |
| 犬上分署 |
![]() |

































































